Vi monterer i en radius på 50km rundt om Vejle, i byer så som:
Fredericia, Middelfart, Kolding, Billund, Juelsminde, Horsens og alt derimellem
Giv os et kald eller besøg vores flotte butik i Vejle
RAIS 600³ Max brændeovn med glas i 3 sider
Tekniske specifikationer
| Energieffektivitetsklasse | A |
| Nominel effekt | 5,8 |
| Virkningsgrad | 76% |
| Højde (mm) | 1311 |
| Bredde (mm) | 682 |
| Dybde (mm) | 440 |
| Vægt (kg) | 199 |
| Kan ses i butikken? | Ja i mokka (mørkebrun) |
kr. 52.900,00
- Flotte store glas
- Dansk kvalitet
- Lækkert design
- Med opbevaringsskuffe
- Design selv
- Flere farver
Mål op hjemmefra med vores guide
Skal vi hjælpe med at finde den rette brændeovn?
Vil du have den bedste rådgivning og finde den helt rette brændeovn? Brug vores enkle opmålingsguide inden du besøger os i butikken. Det sparer tid og sikrer, at vi kan hjælpe dig med præcis det, du har brug for.
Downloads
RAIS 600³ Max brændeovn med glas i 3 sider
Skøn brændeovn med god plads og masser af glas, hvor du kan se ind til flammerne. Brændkammeret er hele 54,3cm i bredden.
Denne RAIS 600³ Max brændeovn med glas i 3 sider findes i forskellige højder. 131,1cm som er den på billederne og ellers i højderne med overbygning på 150,6cm og 169,6cm
I modellerne med overbygning på, der kan der placeres varmelagringssten i toppen. Der har du 60kg og 120kg, alt efter hvilken højde du vælger.
Varmelagringssten absorbere varmen mens du bruger brændeovnen og når du eksempelvis går i seng, så står brændeovnen og afgiver varme fra varmelagringsstenene i mange timer frem.
Brændeovnen findes også med kun to glas i, så har du glas i fronten og i den side der giver mening. Dette er perfekt, hvis du vil have den til at stå i et hjørne, evt. op mod en muret skorsten. Her har du nemlig ikke brug for glas i den side der går ind mod væggen. Det kan også være du har brændbare møbler til den ene side og du derfor ikke kan få det til at passe med afstanden på 50cm for sideglas, men så er det super smart at den så laves uden sideglas i valgfri side og at vi så er nede på 25cm til brændbart fra siden af brændeovnen.
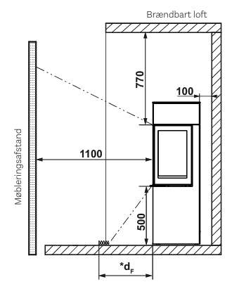
Afstand til brændbart materiale:
- Til siden: 500mm
- Bag: 100mm
- Minimumsafstand fra toppen af lågen til brændbart materiale i loftet: 770mm
Tilkøbsmuligheder til RAIS 600³ Max brændeovn med glas i 3 sider:
Her er de forskellige tilkøb der er for denne brændeovn:
- Farver: Hvid, nikkel, platin, mokka og sand
- Overbygninger og varmelagringssten
- Sidebokse i forskellige størrelser
- Friskluftkit, til hvis du bor i et nyere tæt hus, så brændeovnen kan få luft ude fra det fri, til dens forbrænding.
- Sort coated glasdør: Dette betyder at lågen har en sort glaskant rundt i sort, hvor den ellers ville have stålkant rundt. Dette gælder også siderne med sideglas, de får også en sort glaskant.







